考试总分:10分
考试类型:模拟试题
作答时间:60分钟
已答人数:1504
试卷答案:有
试卷介绍: 2025年高职单招每日一练《机械专业》11月28日专为备考2025年机械专业考生准备,帮助考生通过每日坚持练习,逐步提升考试成绩。
A对
B错
A对
B错
A对
B错
A带传动的形式
B带传递的功率
C带的速度
D带的型号
A
B
C
D
A细实线
B粗实线
C细点画线
D细虚线
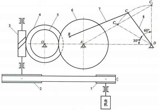
(1)图示带传动为()带传动,带传动的中心距为()。
(2)如传动时齿轮4、5的轴向力相互抵消,则齿轮5、6的旋向分别为()和()。
(3)如齿轮6的轴向力垂直纸面向内,则电机的转向为(),图示构件8的运动方向为()。
(4)机构ABCD为()机构,其极位夹角为(),AB=(),BC=()。
(5)构件8运动时的角速度为()。
(6)若要减小构件8的摆角,则可减小()的长度。
(7)机构ABCD中,当()的长度趋于无穷大时,可演化成()机构。
(8)蜗杆3的标准参数在()面内,蜗轮4的标准参数在()面内,齿轮5的标准参数在()面内,几何尺寸计算在()面内。