2025-08-11 16:43:54 来源:勒克斯教育网
因工作需要,饶平县公安局委托潮州市海盛物业管理有限公司,现面向社会公开招聘男性警务辅助人员12名。谨就本次招聘公告如下:
一、应聘条件
(一)具有下列资格条件的人员可以报名:
1.具有中华人民共和国国籍,拥护宪法,遵守国家法律法规,品行端正;有良好的职业道德,爱岗敬业,事业心、责任心强;
2.具备履行岗位职责所需的身体素质和工作能力,特别是具备能适应“24小时倒班制”岗位要求的身体条件;
3.年满18周岁,原则上不超过35周岁,特殊岗位可适当放宽;
4.具备高中或中专以上文化程度,大专以上学历、退役军人优先考虑。
(二)有下列情形之一的,不得报考:
1.本人或家庭成员、主要社会关系人参加非法组织、邪教组织或者从事其他危害国家安全活动的;
2.本人家庭成员或主要社会关系人正在服刑或正在接受调查的;
3.受过刑事处罚或者涉嫌违法犯罪尚未查清的;
4.编制、散布有损国家声誉、反对党的理论和路线方针政策、违反国家法律法规信息的;
5.因吸食、注射毒品,卖淫、嫖娼,赌博或为赌博提供条件受到处罚的;
6.被行政拘留、司法拘留或收容教育的;
7.被吊销律师、公证员执业证书的;
8.被开除公职、开除军籍或者因违纪违规被辞退解聘的;
9.从事警务辅助工作劳动合同期未满擅自离职的;
10.有较为严重个人不良信用记录的;
11.其他不适宜从事警务辅助工作的。
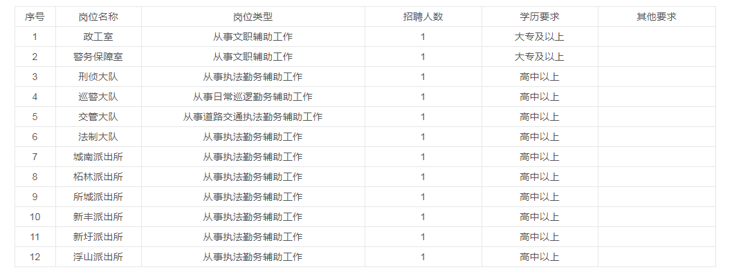
二、招聘人数
男性警务辅助人员12名。
三、报名办法与招聘程序
1、报名方式
采用线下报名方式,报名地点为饶平县公安局2楼。
2、报名时间
2025年8月12日至8月13日(上午8:30-12:00,下午2:30-5:30)。
报名时需带招聘警务辅助人员报名表(附件1)、本人身份证、户口簿、毕业证书、士兵退伍证原件和复印件及近期免冠大1寸彩色照片1张。
3、招聘形式
招聘辅警采用笔试、面试、体能测试、体检和政审方式,考试具体时间、地点另行通知。未按时到达考场参加或中途擅自离场者视为放弃考试。
笔试内容:《人民警察法》、《治安管理处罚法》、《道路交通安全法》、《广东省公安机关警务辅助人员管理办法》等法律基础知识。笔试采取闭卷方式进行,卷面满分为100分,设定合格分数线。
面试:面试对象根据笔试成绩从高到低按招录人数1:3比例确定,如未达到比例人数则按实际人数确定。面试内容主要是对报考人员的语言表达能力、言行举止、仪容仪表等方面进行综合评价,满分40分,设定合格分数线。
体能测试(设合格线、不计入总分):
1.4×10米折返跑:合格为≤13〃4;
2.纵跳摸高:合格为≥255CM。
体能测试二项任一项不合格即不予录用。
体检:体检对象根据笔试成绩×60%+面试成绩从高到低按招录人数确定,体检工作由饶平县公安局统一组织,体检标准参照《公务员录用体检标准》执行,体检费用由报考人自理。
政审:体检合格后,考生持饶平县公安局政审函到辖区居委会(村委会)及派出所进行政审。
公示:拟聘用人员名单在饶平县公安局官方公众号公示,同时公布举报电话,接受社会监督,公示期为5个工作日,经公示无反映或反映问题不影响聘用的,按规定程序办理聘用程序。
聘用:拟聘用人员与潮州市海盛物业管理有限公司签订聘用合同书,由潮州市海盛物业管理有限公司派遣到饶平县公安局从事警务辅助工作,聘用期2年。
四、薪酬待遇
按现行警务辅助人员标准执行。
五、其他事项
(一)应聘人员应诚信报考、诚信考试,凡隐瞒或提供虚假情况的,或在应聘过程和聘用期间弄虚作假、违反诚信原则的,一经查实,即被取消聘用资格,必要时追究相关责任,其所签劳动合同无效;
(二)从初试到聘用的任一环节中,因个人原因主动放弃的,在2年内不得再应聘饶平县公安局警务辅助人员。
(三)本次公开招聘不收取任何报名费用,不举办也不委托任何机构举办考试辅导培训班。
饶平县公安局
2025年8月11日
附件1:招聘警务辅助人员报名表.docx
附件2: 饶平县公安局公开招聘警务辅助人员职位表
